恒大多家公司成失信被执行人上热搜 许家印名下240多家企业被注吊销

Source
备受关注的恒大案件近期有了突破性进展。2026年4月13日至14日,广东省深圳市中级人民法院对恒大集团、恒大地产及许家印涉嫌非法吸收公众存款、集资诈骗、欺诈发行证券等案件进行了公开审理。

在庭审现场,面对相关罪名的指控,许家印当庭表示认罪悔罪。目前庭审环节已经结束,法庭宣布将根据审理情况择期宣判。这一进展标志着恒大法律风暴进入了定罪量刑的关键阶段。

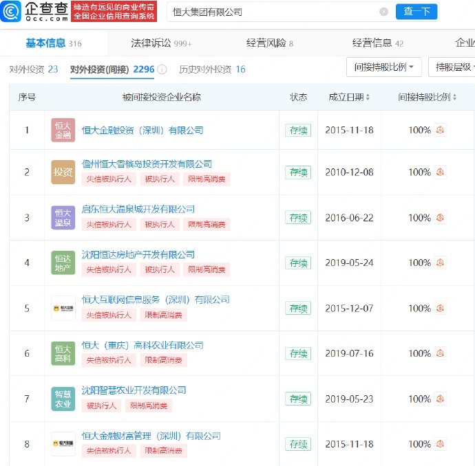
作为曾经的地产大亨,许家印名下的商业版图极为惊人。资料显示他实际控制的企业超过2200家,业务范围横跨房地产、金融、教育、制造业等多个领域。但在庞大的规模背后,其经营状况早已千疮百孔。

在这些关联企业中,已有245家被注销、吊销或责令关闭。随着恒大财务危机的全面爆发,这个曾经庞大的商业帝国正面临着前所未有的瓦解,众多的法律纠纷与违规操作也逐一浮出水面。

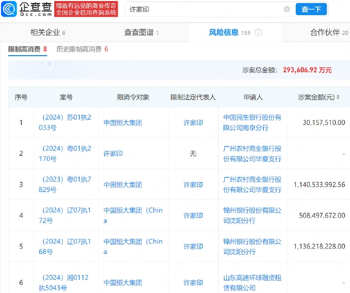
风险监控信息显示,恒大旗下的多家核心公司目前均存在被执行人、失信被执行人以及限制高消费等负面记录。由于债务违约规模巨大,恒大早已成为法律意义上的失信典型,即俗称的老赖。

作为企业的掌门人,中国恒大集团及许家印本人此前已多次被法院限制高消费。此次刑事诉讼的公开审理,不仅是对其个人违法行为的清算,也预示着对恒大系金融风险的处置进入了法治化的深度阶段。

许家印的当庭认罪,对于受波及的广大债权人和投资者而言,是案件走向公正裁决的重要一步。法庭的择期宣判将最终揭示这起涉及金额巨大、影响面极广的金融犯罪案件的最终结局。