民生金融租赁迎来副总裁,房企股东成被执行人,数字化能否突围?

Source

登录新浪财经APP 搜索【信披】查看更多考评等级

文 | 子弹财经 李薇

编辑 | 蛋总

当前,国内金融租赁行业正处于转型深水期,亟待走出一条差异化发展之路。

2026年1月下旬,天津金融监管局发布批复,核准李增欣民生金融租赁股份有限公司(以下简称“民生金融租赁”)副总裁的任职资格,标志其高管团队进一步扩容,引起外界对其发展的关注。

作为我国首批银行系金融租赁公司之一,民生金融租赁成立于2008年4月,目前注册资本为50.95亿元,总部位于天津市,主要开展车辆、船舶、商用飞机、公务机、大型设备融资和设备普惠租赁业务。

在股权架构上,民生金融租赁的第一大股东是民生银行(持股比例为54.96%),由该行发起设立并控股。

在业绩表现上,民生金融租赁在2021年至2024年期间,业绩连续“双降”,其营收分别为73.75亿元、69.21亿元、68.44亿元和62.27亿元,净利润分别为13.53亿元、10.37亿元、7.96亿元和7.3亿元。

截至2025年上半年,其营收达到30.17亿元,与行业头部交银金租的167.79亿元相比,存在较大的差距,同时并未披露净利润数据。

在资产质量方面,截至2024年末,民生金融租赁的不良融资租赁资产率为1.49%,而此前2023年末该指标为1.57%,排在银行系金融租赁公司的倒数第二名。

值得注意的是,民生金融租赁的多名股东已成为被执行人。其中,其第二大股东达义兴业于2025年3月末在阿里拍卖平台将其所持民生金融租赁6.32亿股股权拍卖,起拍价为15.65亿元,最终流拍。

面对业绩挑战与房企股东的股权拍卖困局,民生金融租赁能否破局?新任副总裁又将如何驱动战略变革?

01 迎来新任副总裁,2025年上任三位新高管

2026年初,民生金融租赁宣布迎来了新任副总裁李增欣,他曾任民生银行银川分行副行长,在服务制造业转型升级领域具备丰富的金融实务经验。

图 / 民生金融租赁副总裁李增欣的任职资格获批公告(来源:国家金融监管总局) 图 / 民生金融租赁副总裁李增欣的任职资格获批公告(来源:国家金融监管总局)

值得一提的是,民生金融租赁和大股东民生银行之间形成了“银租协同”深度合作关系。

民生银行通过广泛的物理网点和营销体系,负责客户对接与融资需求挖掘等环节,而民生金融租赁负责定制化融资方案,为母行带来派生存款、资金结算等综合收益。

从组织架构来看,民生金融租赁形成了华北、华东和东南等多个业务部,离不开民生银行的网点支持。在业务布局上,民生金融租赁主要以飞机、船舶、车辆和设备租赁为主,因此配套构建了船舶租赁、车辆租赁等事业部。

图 / 民生金融租赁组织架构图(截至2024年末,来源:民生金融租赁2024年度信息披露报告) 图 / 民生金融租赁组织架构图(截至2024年末,来源:民生金融租赁2024年度信息披露报告)

「子弹财经」注意到,监管部门在2025年1月,批复了黄红日担任民生金融租赁董事长的任职资格。此后在2025年7月和8月,监管分别批复了民生金融租赁副总裁林晓军、王欣平的任职资格。

其中,民生金融租赁的董事长黄红日现任民生银行副行长,曾任该行公司银行部信息与规划中心处长、能源金融事业部市场总监、信贷管理部总经理、授信审批部总经理等关键职务。

2025年初,光大金租、江苏金租等陆续迎来新董事长,折射出金融租赁行业处于战略调整和高质量转型的关键期,新的高管团队或有助于推动转型并改善业绩。

民生金融租赁官网显示,截至2026年3月初,其经营层的高管包括五人,均具备民生银行从业经验,分别是总裁孔祥歌、副总裁林晓军、副总裁兼首席风险官丁明武、副总裁王欣平以及总裁助理邓毅。

图 / 民生金融租赁的经营层高管构成(来源:民生金融租赁官网) 图 / 民生金融租赁的经营层高管构成(来源:民生金融租赁官网)

新任副总裁李增欣上任后,他与现任高管之间或需一定的磨合期。今后,民生金融租赁的高管层是否仍会出现人员更迭,同时对于业绩增长有哪些战略布局,仍待观察。

02 业绩三年“双降”,资产负债错配待改善

金融租赁公司具有天然的高杠杆、高负债属性,背靠着控股股东民生银行,民生金融租赁的资产规模、盈利能力和资产质量,成为外界关注的焦点。

从核心竞争力的视角来看,民生金融租赁是否处于行业头部地位?

「子弹财经」梳理发现,我国首批五家银行系金融租赁公司(工银金融租赁、建信金融租赁、交银金融租赁、招银金融租赁和民生金融租赁)的总资产规模位列行业前七名。

根据银行2025半年报披露的控股金融租赁公司业绩数据,在总资产规模方面,交银金租位列第一,达到4679.54亿元。而民生金融租赁排在第6名,达到1769.07亿元,可见行业分化差距较大。

同时,民生金融租赁未披露2025上半年的净利润数据,但营收达到30.17亿元,相较交银金租167.79亿元、国银金租146.64亿元的营收规模,仍存在一定落差。

放长时间周期来看,民生金融租赁的业绩表现是否保持稳定?

根据联合资信发布的民生金融租赁2024年和2025年评级报告,2021年至2024年期间,民生金融租赁的营业收入分别为73.75亿元、69.21亿元、68.44亿元和62.27亿元,而净利润分别为13.53亿元、10.37亿元、7.96亿元和7.3亿元,整体业绩呈现出缓慢下滑趋势。

图 / 民生金融租赁2021-2024年主要财务数据(来源:联合资信2024年与2025年评级报告)
图 / 民生金融租赁2021-2024年主要财务数据(来源:联合资信2024年与2025年评级报告) 图 / 民生金融租赁2021-2024年主要财务数据(来源:联合资信2024年与2025年评级报告)

评级报告指出,民生金融租赁2024年末的营业收入及净利润均呈现下行态势,盈利能力有待提升。

此外,从成本收入比来看,其2021年至2024年分别为9.16%、16.75%、27.9%和36.08%,报告指出主要源于辅助项目管理费支出增加所致,同时叠加营业收入下降的影响。

在资产质量方面,2021年至2024年期间,民生金融租赁的不良融资租赁资产率分别为1.7%、1.7%、1.57%和1.49%,整体呈现下滑态势。

然而,此前深圳市融资租赁协会披露的排名显示,截至2023年末,金融租赁公司平均应收融资租赁款不良率为1%,不良率最高的3家金融租赁公司为建信金租、华夏金租和民生金融租赁,分别为2.72%、1.57%和1.57%,因此民生金融租赁的不良率相对偏高。

值得注意的是,评级报告指出,民生金融租赁的资产负债期限结构错配情况尚需进一步改善。

受金融租赁行业特征影响,公司租赁资产期限主要为中长期,2024年末资产端平均久期在3年左右;而负债平均久期在1年以内。(编者按:久期可简单理解为债券的平均偿还时间。)

鉴于此,在融资租赁业务“借短投长”的经营模式下,股东方能否提供充足的流动性支持,对其可持续发展尤为重要。

在负债结构上,民生金融租赁主要以借入资金为主,大部分来自国有大型银行和股份制银行。截至2024年末,公司借入资金余额为1306.81亿元,其中向控股股东民生银行借入资金余额合计为252.01亿元。

图 / 民生金融租赁的负债结构(来源:联合资信评级报告) 图 / 民生金融租赁的负债结构(来源:联合资信评级报告)

此外,民生金融租赁的资产负债率较高,2021年至2024年分别为89.23%、87.26%、87.85%和86.81%,2024年末小幅回落但整体依旧逼近90%。

但这一问题并非仅存在于民生金融租赁一家,而是与金融租赁行业的高负债特征高度关联。

横向对比来看,截至2024年末,交银金租、工银金租与招银金租的资产负债率分别为88.91%、87.58%和88.06%。可见,民生金融租赁与同业之间的差距较小。

有关民生金融租赁今后能否实现盈利规模企稳提升?在成本结构优化和不良率改善方面,有哪些创新举措?「子弹财经」试图向民生金融租赁进一步了解,但截至发稿暂未获得回复。

03 多名股东成为被执行人,数字化赋能生态共建

客观来看,持牌金融机构的稳健运营,与其股东自身经营的稳定性存在较大关联。令人意外的是,民生金融租赁的多个股东均成为被执行人,或对其业务拓展造成一定影响。

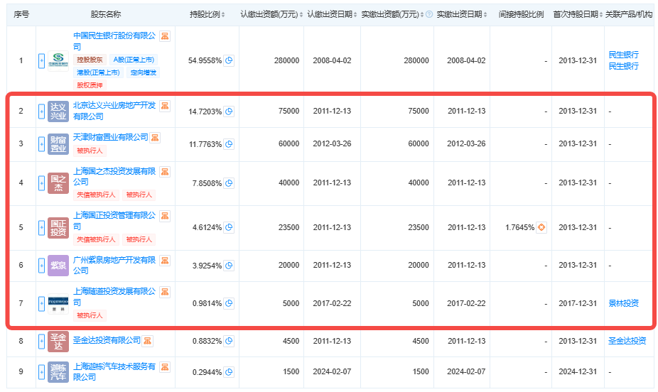
天眼查显示,截至2026年3月初,民生金融租赁有9个股东,其中第二大股东至第六大股东均出现股权冻结,同时其第七大股东上海随道投资发展有限公司处于被执行人状态。

在这些股东之中,北京达义兴业房地产开发有限公司(以下简称“达义兴业”)、天津财富置业有限公司、上海国之杰投资发展有限公司和广州紫泉房地产开发有限公司均属于房地产行业。

在金融租赁行业的发展高光时期,一批房地产公司通过参股的方式来布局金融,但随着房地产行业进入调整期,自身资金流压力引发了司法诉讼纠纷,对金融租赁公司或带来经营风险。

图 / 民生金融租赁的股东构成情况(来源:天眼查) 图 / 民生金融租赁的股东构成情况(来源:天眼查)

引人关注的是,第二大股东达义兴业持有的民生金融租赁股权,历经了多次拍卖尝试,但均未能拍卖成功。

梳理时间线来看,最早在2024年11月22日,深圳中级人民法院试图在京东资产交易平台上拍卖达义兴业持有的7.5亿股民生金融租赁股权(持股比例为14.72%),起拍价为23.22亿元(每股约3.1元),这一价格创下了业内拍卖纪录。然而,由于案外人提出执行异议,该拍卖信息于同年12月24日被撤回。

2024年12月25日,深圳中院重启拍卖,调整标的为达义兴业持有的7亿股民生金融租赁股权,拍卖时间定于2025年2月6日,起拍价为21.68亿元(每股3.1元)。由于被申请执行人在拍卖前提出撤回,最终未进入实际竞价阶段。

进入2025年后,达义兴业分别在2月28日与3月27日,将持有的民生金融租赁6.32亿股股权在阿里拍卖平台拍卖,起拍价分别为19.56亿元、15.65亿元,两次拍卖最终均流拍。

天眼查显示,目前达义兴业持有的这笔股权仍处于股权冻结状态,2026年未披露最新的股权拍卖信息。

此外,民生金融租赁的其余股东也存在股权冻结或司法诉讼问题。

比如,其第三大股东天津财富置业有限公司2023年被冻结股权,并成为被执行人、限制高消费。

第四大股东和第五大股东分别是上海国之杰投资发展有限公司、上海国正投资管理有限公司,两家公司均处于失信被执行人、被执行人和股权冻结等状态,并且涉及大量的司法案件。

在业绩承压和股东股权被冻结或被拍卖的困境下,民生金融租赁2026年加快数字化转型赋能,包括利用物联网、RPA、大数据等技术,全面赋能对公、零售和普惠租赁业务,试图提升智能风控与运营效率。

「子弹财经」发现,民生金融租赁目前推出了民生易租App。这是面向内部业务人员的移动金融服务平台,从线索到提报订单仅需30分钟,展现出数字化平台已驱动其业务办理效率提升。

此外,民生金融租赁在2025年初就引入了DeepSeek大模型技术,应用于知识库检索、报告辅助生成和风险管控等场景。

针对于多个股东成为被执行人有哪些潜在经营风险,数字化转型能否推动今后业绩发展等问题,「子弹财经」试图与民生金融租赁进一步沟通,但截至发稿暂未获得回复。

总体来看,作为我国首批银行系金融租赁公司之一,民生金融租赁在赋能制造业转型方面,已形成特色化的金融解决方案。

而面对业绩连续“双降”局面与多名股东陷入司法纠纷等挑战,新的高管团队如何重塑竞争优势?「子弹财经」将持续观察。