天眼查显示,锤子科技 (成都) 股份有限公司是一家2012年5月成立于成都的智能设备及生态链产品企业,罗永浩任董事长。公司主要从事中高端智能手机、智能工作站及生态链产品的设计、研发与销售。
罗永浩所持锤子科技713万元股权被冻结
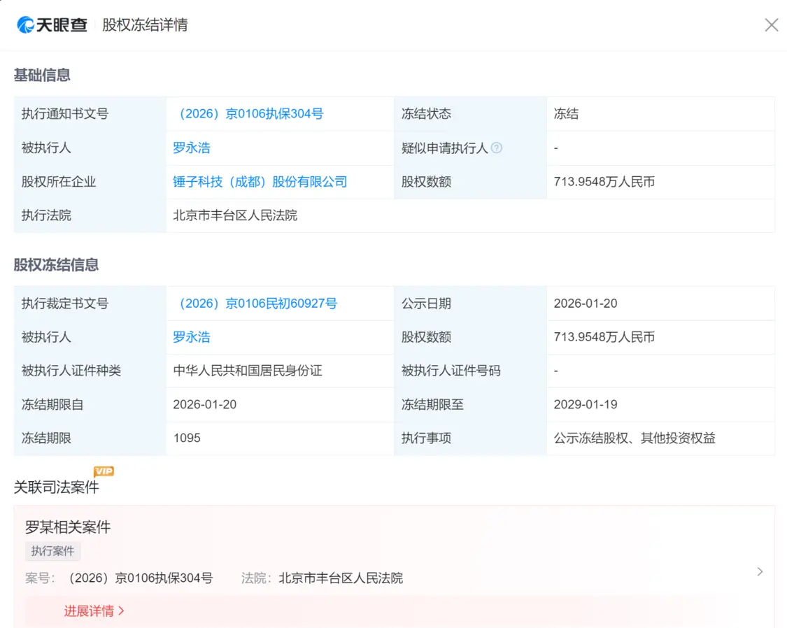
1月22日,天眼查信息显示,1月20日,罗永浩新增一则股权冻结信息,股权所在企业为锤子科技(成都)股份有限公司,冻结股权数额713万余元,冻结期限自2026年1月20日至2029年1月19日,执行法院为北京市丰台区人民法院。
天眼查显示,锤子科技 (成都) 股份有限公司是一家2012年5月成立于成都的智能设备及生态链产品企业,罗永浩任董事长。公司主要从事中高端智能手机、智能工作站及生态链产品的设计、研发与销售。