近3亿执行标的惊现,西部利得基金回应:系专户产品商事纠纷

Source

登录新浪财经APP 搜索【信披】查看更多考评等级

基金经理涉赌刚辞,西部利得又迎近3亿“飞来横债”

基金经理涉赌刚辞,一则近3亿元的执行案,再次将西部利得基金推上市场关注焦点。

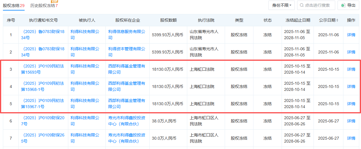
据中国执行信息公开网,西部利得基金近日被上海金融法院列为被执行人,执行标的为2.91亿元,立案时间是11月6日。由于目前官方尚未公布具体案由,这一事件引发市场多方猜测。

针对此事,西部利得基金对第一财经表示,本次事件系专户产品运作过程中的商事纠纷引发,公司作为管理人代表资产管理计划管理和处分计划财产,但计划财产产生债务应由计划财产本身承担。“公司后续协助法院完成对资管计划财产的处分即可。”西部利得基金称。

公开资料显示,西部利得基金成立于2010年7月,是行业第60家获批成立的公募基金。目前,该公司由西部证券持股51%、利得科技有限公司(下称“利得科技”)持股49%,属于券商系公募,注册资本为3.7亿元。

从经营数据看,Wind数据显示,西部利得基金今年上半年的营业收入超过2亿元,净利润只有2808.57万元;去年全年的营业收入为3.84亿元,净利润为5066.54万元。这一盈利规模与近3亿元的执行标的差异显著,这也是市场对事件影响产生担忧的原因之一。

另一方面,西部利得基金第二大股东利得科技近期亦风波不断。天眼查数据显示,利得科技于今年9月出现两条被执行人信息,涉及被执行总金额为128.9万元。此外,利得科技旗下多家子公司的股权遭遇冻结。

其中,利得科技持有西部利得基金1.813亿元的股权(对应其49%持股比例的出资额)已被上海虹口法院冻结,时间为今年10月15日至2028年10月14日。西部利得基金官网也显示,利得科技持有的公司股权已被质押与冻结。

图片来源:天眼查 图片来源:天眼查

不过,西部利得基金对外回应,本次事件系专户产品运作过程中的商事纠纷引发,与股东股权质押无关。此外,涉案的专户产品目前已不再运作,本次法院裁定不会对公司的经营产生重大影响。

围绕“若资产管理计划财产不足以覆盖债务,管理人是否需承担补充责任”这一问题,多位公募基金合规负责人及法律界人士接受第一财经采访时表示,资产管理计划财产的独立性是核心原则,正常情况下管理人无需对计划财产不足部分兜底。

某公司合规部门相关负责人称,资产管理计划财产独立于资产管理人、资产托管人的固有资产,产生债务应由计划财产本身承担,基金公司不需要承担兜底责任;即使计划财产不足以覆盖债务,也不需承担补充责任。

“若不存在过错被司法机关判决承担赔偿责任的话,不会把公司固有资金作为被执行标的。”另一位资深合规从业人士进一步补充了责任边界的核心前提:除非能够证明管理人在管理过程中违反相关规定或不勤勉尽责等需要承担相应责任的过错行为,而且这同样需要进行司法程序。

华南地区的一位律师结合司法实践补充道,“一般而言,法院或仲裁机构会首先审查债务是否因计划财产本身产生。若争议仅指向计划财产,且裁决未要求管理人以固有财产担责,即便计划财产不足清偿,管理人对不足部分也不承担补充责任”。

近来,西部利得基金一波未平一波又起。今年9月,市场传出公司旗下基金经理解文增因赌博被查的消息。公司随后回应称,经核实,解文增因实施赌博违法行为,已于同月25日被免去基金经理职务并解除劳动合同。但该事件仍引发市场对公司信息披露和内部风控等方面的讨论。

就在该事件余波未平之际,西部利得基金又迎来关键人事变动。10月10日,贺燕萍于10月4日因到龄退休而卸任公司总经理一职,由董事长何方暂代该职务,后续总经理人选尚未披露。第一财经也将继续关注。